公司新闻

news

当前位置:首页  /  公司新闻  /  【柱塞】NBK的塑料球柱塞

【柱塞】NBK的塑料球柱塞

更新时间:2026-04-09

浏览次数:5

今日介绍 NBK 的 PPP 系列塑料球柱塞PPP-N主体为塑料制,具备优异电绝缘性,型球部为 SUS440 不锈钢。适用温度范围 - 30℃~50℃,适配多样工况需求。








01产品详情



塑料球柱塞       PPP-N

【柱塞】NBK的塑料球柱塞




02形状图







【柱塞】NBK的塑料球柱塞









03材质、表面处理

【柱塞】NBK的塑料球柱塞


04特点


  • 主体为塑料制。具有电绝缘性。

  • PPP-P使用塑料球。不会损伤工件。

  • 可使用温度:-30℃~50℃




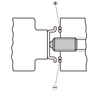
05使用例

用作限位开关。

【柱塞】NBK的塑料球柱塞


06相关产品

支承侧使用耐磨损性优良的球形按钮BB

【柱塞】NBK的塑料球柱塞



上一篇

没有了

分享到